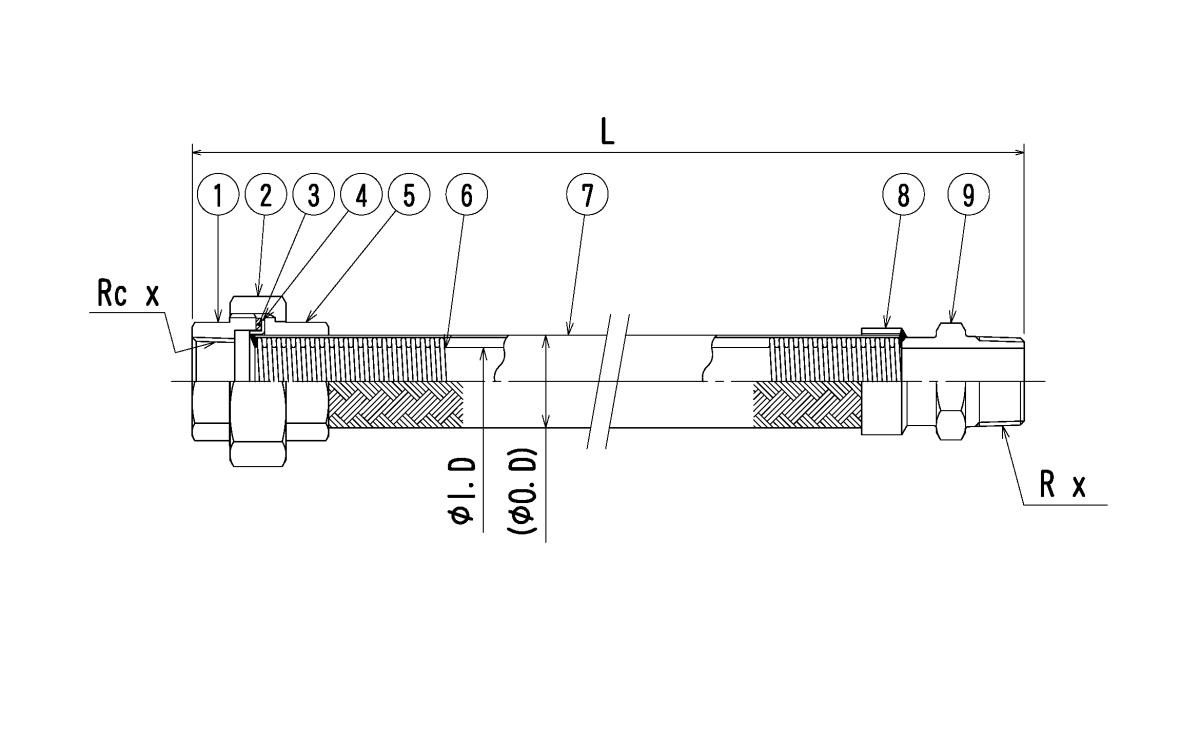
フレキシブルチューブ (一般配管用)

製品情報
S270型(一般配管用)
用途

水、油、スチーム、化学薬品等
配管の撓み、振動吸収、地盤沈下用

 
画像
画像
画像
 
注記

※ その他の材質、寸法等についてはお問い合わせください。
※ 製品仕様等、掲載している情報は予告無く変更することがありますのでご了承ください。

<< 前のページに戻る