フレキシブルチューブ(特殊配管用)

製品情報
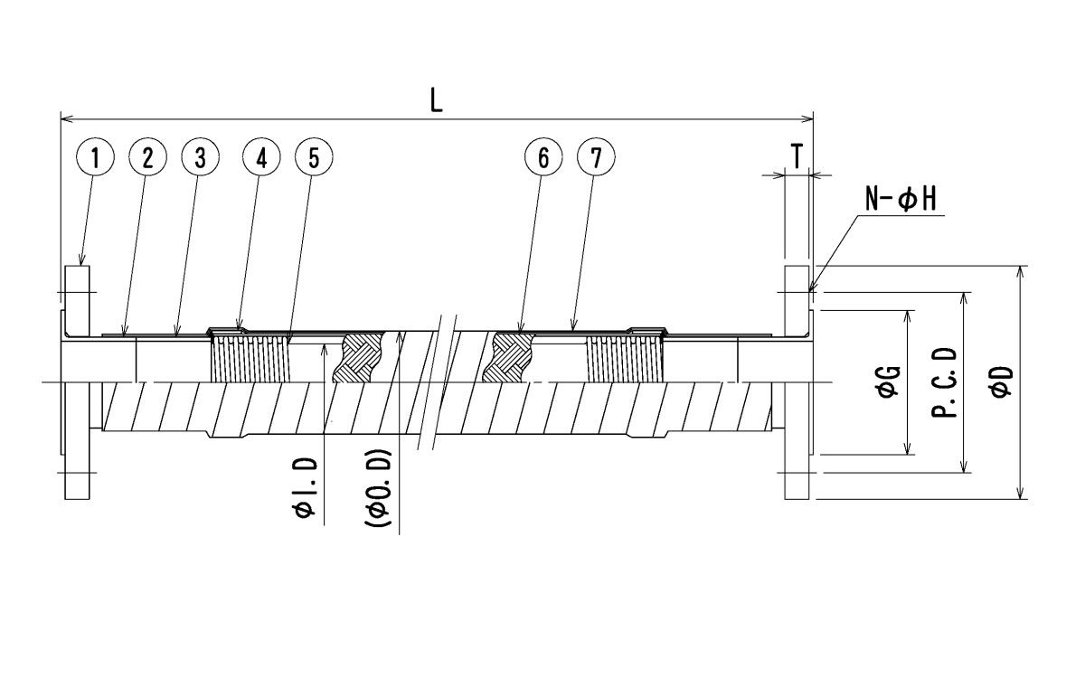
S440型(特殊配管用)
用途

埋設配管用

 
画像
画像
注記

※ その他の材質、寸法等についてはお問い合わせください。
※ 製品仕様等、掲載している情報は予告無く変更することがありますのでご了承ください。

<< 前のページに戻る