フッ素樹脂ホース

製品情報
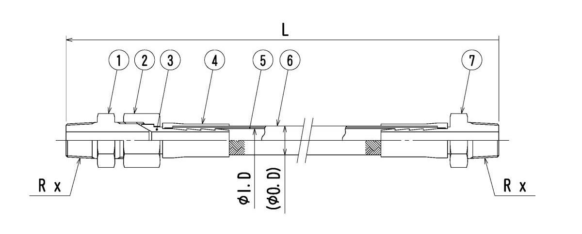
S630型(ストレートホース)
用途

中圧用

S630型
画像
画像
S630型SP付
画像
画像
 
画像
注記

※ その他の材質、寸法等についてはお問い合わせください。
※ 製品仕様等、掲載している情報は予告無く変更することがありますのでご了承ください。

<< 前のページに戻る